金属材料成型方法是零件设计的重要内容,受到制造者们高度关注。金属成型包括铸造成型、塑性成形、机加工、焊接、3d打印、金属半固态成型、金属注射成型、粉末冶金八种工艺,今天我们先聊聊铝合金铸造方法。
铸造:铸造是将符合要求的液态金属通过一系列的转注工具浇注到与零件形状、尺寸相适应的铸型型腔中,使液态金属在重力场或外力场(如电磁力、离心力、振动惯性力等)的作用下充满铸模型腔,待其冷却凝固,以获得毛坯或零件的生产方法,通常称为金属液态成形或铸造。
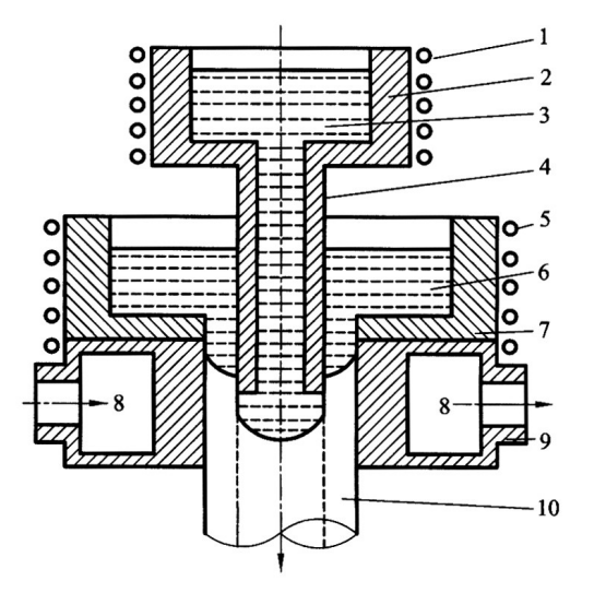
铝合金铸锭的方法很多,根据铸锭相对铸模(结晶器)的位置和运动特征,可将铝合金铸锭方法进行分类,如表1所示。根据每次铸造的根数,可分为单模铸造和多模铸造两类,目前国内实际使用的多模铸造,一次最多铸造根数可以达到 120根,实现了真正意义上的一炉一光。
表1 铝合金铸锭方法分类
采用这种方法时铸造模型静止,铸锭长度受铸模高度限制,过程不连续。分铸铁模和水冷模两种,水冷模壁是中空的,内有流水循环,通过调整进水管的水压可以控制冷却速度。扁锭采用可拆卸的锭模,圆锭采用整体模。铸造时多采用倾斜式浇 铸法,即将铸铁模或水冷模固定在一个可以转动的结构上,开始浇铸时,铸模与水平线呈100- 25°倾斜角,液态金属由浇包直接从铸模顶部的侧边沿模壁流入,边浇铸,边转动铸模,直至垂直位置熔体浇满。完全冷凝成形后取出铸锭,再按同样顺序浇铸下一个铸锭。先将薄壁铁模预热至640℃左右,而后将液态金属倒入铁模中,浇满后在立式炉中静置10min,再放下工作台,以规定的速度(通常很缓慢,以保证熔体自下而上定向结晶, 结晶面比较平坦)将铸模从炉中浸人水中,直至铸模上缘,保持数分钟后将铸模升起,取出铸锭。该法的优点是铸锭内外结晶时间差别小,铸锭截面温度差小,几乎不产生应力现象。缺点是结晶速度慢、生产率低。该法曾用来生产裂纹倾向性大的大断面铸锭。采用此法时,液态金属从熔炼炉或静置炉以连续不变的速度通过流槽和分配漏斗,流人一个或一组无底的结晶器内,结晶器的一端事先用引锭器(底座)封死,金属在结晶器内冷凝成形,并从底端以一定的速度拉出。浇铸过程中,如果设备设有同步锯切装置,能将已凝固的铸锭按定尺切断,而且不妨碍上述过程,则称为连续铸造;若切断工序不在浇铸时进行,而在浇铸终了进行,则称为半连续铸造。结晶器相对地面静止,铸锭和结晶器作相对滑动,结晶器是整体式的。(1)立式铸造。结晶器轴线相对地面垂直。分地坑式和高架式两种,通常采用地坑式,但在地质情况不好(如地层为岩石或地下水位很高等)、施工条件困难时采用高架式。按作用原理,立式铸造又可分为普通滑动结晶器铸造和热顶铸造两大类。(2)卧式铸造。又称横向水平铸造。结晶器轴线水平配置,铸锭拉出方向与地面平行。结晶器是组合式的。组成结晶器的部分构件或全部构件处于运动状态,边浇铸,边运动,边冷凝,边脱模。一般多与轧机配合组成连铸连轧生产线。主要用于板、带、棒和线材生产。现在又发展了整体式的动模铸造、加振动模和旋转模等。动模铸造是铝合金铸造方法的发展方向之一,能实现液态金属一次加工成材,达到节能降耗、提高生产效率的目的。 液态金属从供流嘴流到一对相向转动的轧辊之间,在 这里冷凝成形并被压延成板材。此法将铸造与轧制工序合并在一起,在一台机组上一次完成,又称连续铸轧。该法主要 用于生产纯铝及3A21,5A02等结晶温度范围较窄的合金板材。 用带定形槽沟的环形轮和钢带组成结晶器,金属液进入结晶腔内,随铸轮同步运行,在铸轮与钢带分离处,熔体凝结成坯并以与铸轮周边相同的线速度拉出锭坯。这种铸造 机往往与各种轧机相配组成连铸连轧机组,可生产小规格的带材、棒材和线材。20世纪80年代在康富姆连续挤压机基础上发展起来的液体直接挤压也可归于此类。 结晶器由两条相互平行的履带式类型的钢块模或钢带组成,金属液在这里凝固成形。美国新亨特连铸机和哈兹耐特连铸机及瑞士阿鲁申思连铸机是典型代表。此法用于生产工业纯铝和软合金的厚板(20一50mm)、宽板(100一2500mm)时生产效率很高。 液态金属借助于电磁力或气体压力等外力场成形。铸锭直接喷水冷却,铸锭与“结晶器”在铸造过程中不接触,即无模铸造。属于这类铸造的有电磁铸造、气化层(气滑、气幕)铸造等。与不连续铸造(锭模铸造)比较,连续(半连续)铸造的优点是: 这是因为连续铸造冷却强度大,结晶速度快,因而晶内结构细小,力学性能高。其次,连续铸锭的结晶是以自下而上、从外向里顺序进行的,具有确定的方向,在铸锭浇口部始终有一个液穴存在,有利于金属的补缩和气体的析出,铸锭致密度高。另外,连续铸造时,金属转注连续而平稳,无冲击翻滚,减少了氧化膜和夹渣生成及卷人金属中的机会,使金属内部纯净 度提高。 因为连续铸造不仅提高了铸锭质量,减少了气孔、疏松、氧化膜、夹渣等不良组织的数量,而且铸锭长度增加,切头切尾少,大大提高了金属实收率。 由于连续铸造生产的机械化、自动化程度高,铸锭重量大大增加。此外连续铸造时的劳动条件大为改善,劳动力消耗降低。(1)铸锭受到强烈冷却,产生很大的内应力,提高了某些硬铝合金大断面铸锭的裂纹倾向性。 (2)铸锭的快速结晶使某些难熔元素(锰、铬、错、铁、钛等)与铝形成过饱和度很大的固溶体,并加剧了晶内偏析和形成金属间化合物枝晶的倾向,导致变形制品的某些特殊缺陷(如工业纯铝板材的各向异性,挤压制品和模锻件的区域性粗大再结晶,由局部偏析造成的分层等)的产生和加剧。 与普通立式连续铸造相比,卧式连续铸造的主要特点是: (2)立式铸造时,供流系统与结晶器是分离的,浇铸液面是裸露的;卧式铸造时,金属液接收器(俗称中间罐)与结晶器构成一个整体,熔体通过设置在中间罐和结晶器之间的导流板(或喇叭碗)进人结晶器,浇铸液面是封闭且稳定不变的。 (3)立式铸造时,铸锭几何中心线与凝固中心线是重合的,液穴形状是对称的。卧式铸造时,由于热金属图向上,也由于铸锭重力的作用,使铸锭横断面上部与结晶器之间形成月牙形间隙,因而铸锭凝固不均匀,铸锭凝固中心相对几何中心向上偏移了△R,液穴形状不对称,沿结晶器上部,铸锭凝固线滞后了△h(图2)。(1)设备简单,不需要高大的厂房与深井,因而投资少,建设周期短,见效快。 (2)可把熔炼、铸造、铸锭锯切等工序建成完整的连续铸造作业线,易于实现机械化、自动化,不仅改善了劳动条件,而且有利于提高成品率和生产率。 (3)浇铸系统密封性好,基本上消除了金属液的二次氧化生渣;结晶器有效结晶距离短,铸锭冷却强度大,表面质量好,力学性能高。 (1)铸锭规格受到限制,铸造大截面的铸锭在技术上还存在困难。 (2)铸造过程中结晶器的连续自动润滑问题尚未彻底解决,因而铸锭长度受到限制,影响了 成品率的提高。 (3)国内现有横向铸造机的结构难实现多模铸造(一般为 1一10个模),因而限制了生产能力。在矮结晶器的上面安装一个用耐火绝热材料制造的热顶(热帽),或者在普通结晶器内表面的上部衬一层挠性绝热材料,铸造时,不使用传统的浮标漏斗,而是在热帽上开口与流盘和流槽直接连通,使热顶内的熔体至少与分配流盘内的熔体保持在同一水平,这样的连续铸锭法称为热顶铸造或同水平热顶铸造。有时也把后一种情况称为隔热铸造。图 3所示是最典型且最简单的一种。无论哪种结构形式,其共同的特点是:(1)热顶铸造的结晶器都由一个隔热的热 顶部分和一个未隔热的冷却部分(即有效结晶部分)所组成。热顶部分的作用是使熔体保温,并使铸锭上部始终维持一个液柱,保持一定的铝液静压力,同时降低熔体在结晶器中的凝固位置。冷却部分的高度很小,通常只有20~50mm,其作用是使铸锭成形。 (2)在金属转注方面,取消了漏斗,实现了横向供流,热顶内的金属液面和流盘内的金属液面保持在同一水平。热顶铸造装置的上述两个特点使热顶铸造同时实现了稳定的矮结晶器铸造和同水平铸造,为防止熔体二次污染,减轻或防止铸锭凝壳二次熔析,提高结晶速度,改善铸锭的内部质量和表面质量提供了有利条件;同时又方便实现多模铸造,大幅度提高生产效率。(1)生产的铸锭内部质量好,整个铸锭组织均匀,力学性能高(尤其是铸锭边部)。这是因为热顶结晶器的有效结晶高度小,铸锭的冷却速度提高,使铸锭的晶内结构更为均匀,也使铸锭的液穴变浅、过渡带变窄,因而铸锭致密度提高,化学成分沿铸锭截面的分布更为均匀。同时,由于热顶铸造实现了同水平供流,结晶器内液面氧化膜稳定,不发生搅动,因而有效地防止了熔体的二次污染,提高了金属的内部纯净度。 (2)生产的铸锭表面光滑,铸锭周边层反偏析程度和深度大为降低。这是因为热顶铸造时,二次冷却水的逆流冷却作用比较充分,有效地防止了凝壳的二次重熔,从而抑制了偏析瘤的生成;同时,铸造过程中由于铸锭头部始终维持有一个稳定的液柱,降低了熔体在结晶器中的凝固位置,有效地防止了金属液面处的过早冷却,使弯月面变得稳定,因而也抑制了冷隔的形成。 (3)热顶铸造取消了漏斗,一方面可铸造规格更为细小的铸锭,另一方面亦简化了铸造工艺,特别是减少了铸造开头结尾时的烦琐作业,便于实现多模铸造和自动化生产,提高了生产效率。要求操作技术比较熟练;在工艺参数调节不好的时候,也会产生自己特有的表面缺陷(搭接式表面和汗珠状表面);当采用挠性绝热材料(一般在铸造扁锭时使用硅酸 铝纤维毡)作为衬里材料进行热顶铸造时,绝热材料的消耗较大,需要经常更换维护。气滑铸造(见图4)又称气幕铸造。它是美国MaritnMalretat铝业公司在20世纪80年代初期开发并于1983年正式投入工业生产的一项新型铸造技术「图4(a)]。国内东北轻合金有限责任公司也于20世纪90年代初成功开发了此技术「图4(b)]。(1)由于减弱了一次冷却,强化了二次冷却,液穴变得更为平坦,基本消除了表面偏析瘤产生的条件;同时由于铸锭顶部仍然存在热帽,因而在铸造速度提高的情况下,产生冷隔的可能性大为降低;又由于铸锭凝壳与结晶器壁之间存在气-油润滑层,形成表面拉裂和拉痕的倾向性也大大下降,所以,气滑铸锭的表面质量比热顶铸锭的要好。 (2)更为平坦的液穴形状,使铸锭产生裂纹的倾向性 下降,因而可以以更高的铸造速度进行铸造,提高生产效率。 (3)较大的冷却强度和较高的铸造速度均会使铸锭的平均结晶速度提高。因此,铸锭结晶组织更加细小均匀,有利于全面提高铸锭的综合性能,特别是塑性。目前,气滑铸造的缺点是:影响产品质量的因素较多,特别是气-油比例要恰当,气体压力要与热帽中液态金属的高度相适应;在采用多模铸造的情况下,要维持各热帽中液态金属温度的均匀、稳定、一致。而且,这些因素影响的敏感度还与铸锭直径甚至液态金属中的气体含量有关,所 以要求有较高的操作水平。另外,与热顶铸造相比,其操作和维护成本较高。电磁铸造(EMC)就是利用电磁力成形的连续铸锭法。它是苏联在20世纪60年代发明的一种新工艺,我国东北轻合金有限责任公司亦在20世纪70年代成功研制圆铸锭的电磁铸造,掌握了从单根、双根到三根的整套ф405-ф485mm圆锭电磁铸造技术,并投入工业使用。国内西南铝业公司也在 20世纪末从俄罗斯引进过扁铸锭的电磁铸造装置。电磁铸造装置的结构形式很多,典型的如图6所示。1一感应器;2-溜槽;3-漏斗;4一浮标;s一水套;6一锥筒形导向磁屏;7一底座感应圈通常用横截面呈长方形的扁铜管做成,工作时通水冷却。对它的基本要求是:使产生的磁场沿液柱周边均匀分布。这是因为铸锭的形状是感应圈形状的再现,更准确地说,是感应圈磁场形状的再现。如果感应圈不能保证产生的磁场均匀,则铸造的铸锭就不能得到预期的形状。为保证上述基本要求,目前采取的主要措施是:①使用单圈式感应器。这样既可防止多圈式感应器造成的磁场不均,又可降低电磁结晶器的工作电压。②尽可能减小馈电线处的间隙(不大于 0.2mm),并在馈电线处采用缩小的变断面,以防止该处出现磁场减弱现象而使铸锭局部变形。在质量上,电磁铸锭和普通铸锭相比较,具有如下特点:(1)在表面质量上,由于电磁铸造时铸锭不与结晶器接触 ,在结晶面上方始终维持一个液柱,而且铸锭凝壳形成之后没有表面二次加热现象,铸锭表面保持着完整的氧化膜,因此,电磁铸锭表面既没有拉裂、拉痕,也没有冷隔和偏析瘤,表面光洁度很高(见图8)。(2)在宏观组织上,由于电磁铸造时铸锭冷却速度提高、液穴内金属液的运动等原因,电磁锭 的晶粒度更为细小。但是,在电磁锭的边部5-20mm内,往往会出现特有的人字形晶区。(3)在微观组织上,由于电磁铸造时铸锭的冷却速度和铸造速度提高,导致铸锭的结晶速度提高,因而电磁锭的晶粒普遍细化,而且比较均匀。(4)在化学成分的分布上,电磁铸锭仍具有逆偏析的 特点。但是,由于铸锭冷却速度提高、过渡带尺寸缩小、结晶前沿更为平坦等原因,逆偏析的程度减轻。(5)在力学性能和压力加工性能方面,由于电磁锭的(a)普通铸锭;(b)电磁铸锭枝晶更为细化、铸锭更为致密,因此,电磁锭的力学性能,特别是铸锭周边层的力学性能(尤其是伸长率和冲击韧性)有明显改善。(6)在形成裂纹的倾向性方面,因电磁铸锭的塑性较高,故形成冷裂纹的倾向降低;但是,由于电磁锭在固液区的收缩变形更为强烈,故形成热裂纹的倾向提高。其缺点是:①初始投资大;②参数控制要求严格,对铸造设备的精度和操作人员的熟练程度要求高;③由于存在电磁场互相干扰问题,电磁铸造在实现多模铸造和空心铸锭的铸造过程中遇到困难,因此目前仅限于大规格实心圆锭和扁铸锭使用。新一代热顶低频电磁铸造的装置示意图见图9。它最大的特点是可以保留原热顶铸造的优点,同时又细化了铸锭内部组织,提高了均匀性。与常规 DC铸造相比,新一代热顶低频电磁铸造工艺生产的铸 坯的性能优势是: 复合铸造的方法很多,此处仅介绍用于信号传输的铜包铝线用圆锭复合铸造的充芯连铸法。充芯连铸法是一种用于制备高熔点金属包覆低熔点金属复合材料的新工艺,是以连铸外层金属管壳中充填芯部金属液体并使之凝固,以实现两种金属的复合。CFC法的基本原理如图10所示。图10 充芯连铸法 1,5一感应加热器;2,7-坩埚;3一芯部金属;4一导流管;6一包覆层金属;8-冷却水;9一结晶器;10一双金属复合棒①包覆层在出结晶器和芯部金属液导流管(型芯)构成的铸型中凝固成形。②包覆层成形后起到芯部金属的结晶器的作用,即芯部金属液通过导流管直接流入已凝固成形的包覆层中,与包覆层熔合并凝固。工艺简单,可以获得无氧化皮、无夹杂的完全清洁的复合界面,提高包覆材料的质量。③外层金属和芯部金属由不同的控温坩埚进行加热和保温, 易于有效地调节和控制外层金属和芯部金属凝固速度,保证连铸成形的稳定进行。④通过控制芯部金属液导流管下端伸入的位置、外层金属固液界面和芯部金属固液界面的位置,可以合理控制外层金属和芯部金属的复合温度,防止在复合界面层出现互熔过大或过小现象。CFC法适合于铜包铝线等一类包覆层金属温度高于芯部金属的复合材料成形。铜包铝线主要用于信号传输,如有线电视信号和移动通信信号的同轴电缆内导体等。①节约铜用量,降低生产成本。铜的密度是铝的3.3倍,在直径相同的条件下,1t纯铝线的长度要比1t纯铜线长 2.3倍。②提高同轴电缆使用的稳定性和可靠性。同轴电缆常用铝管作外导体的屏蔽层,因铜包铝线的膨胀系数与铝材相近,可减小因温度变化使电缆内外材料膨胀不匹配而产生的连接故障。③铜包铝线电缆轻,便于运输和减小施工中的劳动强度。但由于充芯连铸工艺制备双金属复合材料是一次下拉实现两种金属同时连铸并复合的工艺,增加了工艺参数控制的难度。如图11所示,过热的金属或合金液体在惰性气体中借助高压气体射流或离心力雾化,形成大量微细的液滴。液滴在飞行过程中冷却并部分凝固,形成固液两相颗粒喷射流,直接喷射到较冷的基底上,产生撞击、黏结和凝固,从而在运动的基底上形成所需形状的沉积坯。对沉积坯进行各种致密化加工,可以得到性能优异的产品。(1)具有快速凝固的微观组织特征。根据合金类型,雾化沉积条件的不同和沉积坯尺寸的大小,合金的冷却速度可在1000-1000000K/s,因此喷射沉积合金具有一般快速凝固的组织特征,主要是晶粒组织细化、宏观偏析消除,合金成分趋于均匀。 (2)致密度高。多种合金的直接沉积一般可达理论密度的95%以上,在工艺成熟条件下可达到99%以上,随后对坯件加工则很容易达到完全致密。 (3)成形后合金的氧含量低。喷射沉积过程是在惰性气体中瞬间完成的,因此,金属中的氧含量得到了很好的控制,而且由于液态金属一次成形,工序简单,避免了粉末冶金工艺中因筛分、储存、运输等工序带来的氧化,减轻了材料的受污染程度。 (4)材料性能优异且易加工成形。由于快速凝固的组织优势,各种喷射沉积材料的性能,如耐蚀、耐磨、磁性、强度、韧性等性能指标较常规铸造工艺生产的材料大幅度提高,可与粉末冶金材料的性能相当。 (5)工艺流程短,节约能源,成本低。由于可减少中间工序的投资和能耗,经济性好,因此具有比粉末冶金更强的竞争力 。 (6)生产效率高。有利于实现工业化生产,各种实用雾化器的生产率为25-200kg/min,单个产品质量可达600kg,甚至更重。 (7)灵活的柔性制造系统,近终形成形,具有广泛的通用性及产品的多样性;它不仅适用于多种金属材料,如低合金钢、铝合金、高温合金等,而且为新型材料,如金属间化合物、复合材料和双性能材料的研制提供了新的技术手段。此外,它还是一种合金化、过程设计、产品成形紧密结合、 集成度很高的柔性制造过程。在特定的雾化器设计和适当的雾化参数下,改变收集器的形状并赋予它一定的机械运动,就可以直接成形与零件实际形状接近的多种坯件和材料。(1)存在“过 喷”现象,增加了成本,降低了沉积效率。 (3)综合理论研究有待进一步加深,使之 更有效地指导实际生产。1-雾化沉积室;2-石墨加热体;3-塞杆;4-电偶;5一坩埚;6-微调电 源;7一增压表;8一罗茨表;9-机械泵;10-调压阀;11-电偶接线柱;12-气瓶;13-雾化器;14-沉积器;15-旋风分离器;16-窥视孔;17-球阀;18,19-收粉筛目前采用喷射成形工艺已成功制造出铝合金、铜合金、合金钢、不锈钢、高温合金、复合材料的圆锭、管材、板材、带材和环形件等产品。这里仅对圆锭的生产工艺装备作简单介绍。图12为典型的喷射成形装置示意图。整个设备主要包括熔炼部分、雾化沉积室、真空系统、供气系统及粉末收集系统。雾化沉积室中关键部件是气体雾化用喷嘴和沉积雾化颗粒用的预成形沉积收集器及控制其运动的机械部分。一般喷射铸造装置分为两类:一类通常仅限于生产铁、钻、镍、铜等常规合金;另一类用于生产一些活泼金属,如铝、钦、镁等。喷射成形技术包括金属熔化、雾化和沉积三个工艺过程,如图13所示。即将金属熔化成液态金属后,雾化成熔滴颗粒,随即直接沉积在具有一定形状的预坯上,从而获得致密的大块金属实体。这一过程全部在密闭舱体内完成,避免了金属的污染。由于液态金属是在惰性气流作用下雾化和沉积,所获得的金属实体具有晶粒细小、偏析氧化程度低等特性。 喷射成形生产技术大致可以分为4个阶段:金属释放、气体雾化、喷射、沉积及沉积体冷却和凝固。