标准GB/T 7233.1—2023《铸钢件 超声检测 第1部分:一般用途铸钢件》修改采用国际标准ISO 4992-1:2020,替代了GB/T 7233.1—2009,在引领国家标准向国际标准靠拢方面起到了积极作用。
相比GB/T 7233.1—2009,GB/T 7233.1—2023中部分条款得到了完善,但笔者发现仍存在一些不足之处,基于此对新标准中的几处条款提出了不同的观点。
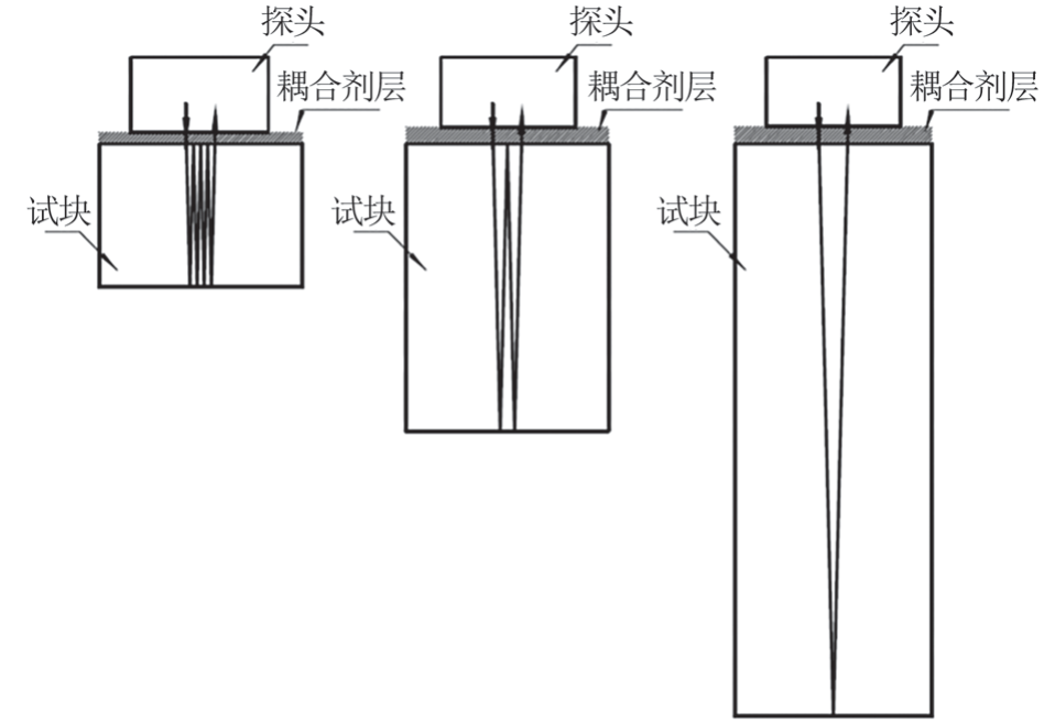
1 用词欠妥的问题 新标准中较多的条款中采用“壁厚”的提法,如条款1,3.1,3.2,3.5,4.3.2.3,4.3.2.5,4.5,5.2.3,5.5.3.3.4,5.5.5.1,5.5.7.2,5.5.7.3,5.6,图1~图4,表1~表3,图D.1,图D.4,图D.5,图D.7,图D.9以及图D.11。 尽管这一提法是由标准ISO 4992-1中“wall thicknesses”直译而来,但壁厚一词更适宜于描述管状、筒状或容器等中空类铸件,而描述其他类型铸件的厚度并不合适。在铸件类型不明确的前提下,将其表述为厚度更为合适。 新标准将斜探头的“折射角”表述为“入射角”,如条款5.5.1.4,5.5.6,5.5.7.1.3,图3,图D.7,图D.9以及图D.11。 标准ISO 4992-1中除5.5.1外均表述为“angle of incidence”,可见“入射角”这一提法是由标准ISO 4992-1直译而来。但按标准GB/T 12604.1—2020《无损检测 术语 超声检测》中第4.4.2及4.4.6条款所界定,入射角是指入射声束轴线与界面法线之间的夹角,而折射角是指折射声束轴线与界面法线之间的夹角。标准中所表述的界面为探头与工件的接触界面,所表述的角度为工件中的折射角。 标准GB/T 7233. 1—2009曾将其修正为“折射角”,这一修正的表述更为准确。 新标准将ISO 4992-1中的“discontinuity”一词修改为“defect”,表述为“缺陷”。 按照GB/T 20737—2006《无损检测 通用术语和定义》中2.6,2.9以及2.11所界定,不连续是指材料或工件在物理结构或形状上的中断;缺陷是指尺寸、形状、取向、位置或性质不满足规定的验收准则而拒收的一个或多个伤;伤是指不一定拒收的缺欠或不连续。即缺陷是指超标的伤,而未超标的伤或尚未确定是否超标的伤应表述为缺欠或不连续,不宜表述为缺陷。 2 声束直径的问题 新标准附录C直接采用ISO 4992-1的附录A,给出了声束直径的参考,用以区分缺欠能否测量尺寸。修正了GB/T 7233. 1—2009中由扩充探头频率1.25 MHz、2.5 MHz造成的6 dB声束直径和近场长度数据偏差较大的问题。 但结合超声检测基础理论,探头前端存在未扩散区,新标准图C.1中所给出的声束直径均未考虑未扩散区,这不符合实际,也势必会给未扩散区内缺欠类型的界定带来偏差,尤其在使用大尺寸晶片探头时将带来更大的偏差。 另外,实际检测采用的是脉冲波,其存在一定的频带宽度,所以由单一频率所推导得出的6 dB声束直径会与实际情况存在一定偏差,通过具体试验测试可得出更加准确的6 dB声束直径。 各种声程和近场长度的探头对应的声束直径(新标准的图C.1)如图1所示,其中1为1 MHz,L,φ10;2为2 MHz,L,φ10;3为1 MHz,L,φ24;4为2 MHz,T,8×9;5为4 MHz,L,φ10;6为2 MHz,L,φ24;7为4 MHz,T,8×9;8为2 MHz,T,20×22;9为4 MHz,L,φ24;10为5 MHz,L,φ24;11为4 MHz,T,20×22(L为纵波,T 为横波)。 图1 各种声程和近场长度的探头对应的声束直径 (GB/T 7233.1—2023图C.1) 3 耦合传输修正值测定的问题 新标准中5.5.3.2要求传输修正值测定按照GB/T 39242《无损检测 超声检测 灵敏度和范围设定》进行,GB/T 39242为修改采用标准ISO 16811,而ISO 16811又是基于标准EN 583-2进行规定的。 其中耦合传输修正值的测定,GB/T 39242在其附录E中给出了参考方法。该参考方法意在测量耦合传输修正,即测量耦合衰减量,测量原理如图2所示(图中t1,t2,t3分别为3个试块的厚度;1,2,3,4表示一次波、二次波、三次波、四次波)。 图2 测定耦合衰减值的步骤(GB/T 39242图E.1) 其采用等声程的方法避开了扩散衰减的影响,并认为四次底波即形成了四个耦合衰减量、二次底波即形成了两个耦合衰减量、一次底波即形成了一个耦合衰减量,然后对三个试块的检测数据进行两两组合的正交分析得出耦合衰减的量值。 此耦合衰减量的测量看似合理,但分析后却发现存在较大问题。耦合衰减是超声波进出耦合层(由探头保护膜表面、耦合剂层及铸件的检测面共同组成)时发生的往复透射造成的。四次底波、二次底波及一次底波的实际传播路径如图3所示,可以看出无论一次底波还是二次底波或是四次底波,均只在耦合层形成了一次往复透射情况。 图3 四次底波、二次底波及一次底波的实际传播路径 可见,多次反射并不存在多个耦合衰减量。同时多次反射过程中也存在底面的多次反射损失,忽略其影响也会给测量结果带来偏差。另外采用加工的试块来测量耦合衰减也难以保证检测面状态与原铸件检测面状态相同。如被检铸件存在与检测面相互平行的底面,对铸件检测面进行局部修磨,然后对比底波变化,便可直接得出耦合衰减值,采用这种方法既简单又准确。 另外,如采用标准GB/T 39242中比较法测定传输修正值,如图4所示(图中VA1,VA2分别为校准试块一次底波和二次底波达到基准波高时的增益值;VB1,VB2分别为被检铸钢件一次底波和二次底波达到基准波高时的增益值;∆Vt为声程为Su时传输修正值),两直线的斜率分别为被检铸钢件和标准试块的衰减系数,当声程为零时两直线的偏差仅由耦合差异引起,即两直线在纵坐标上的截距之差便为试块和工件之间的耦合衰减值。 图4 采用比较法确定传输修正值(GB/T 39242图13) 结语 结合超声检测基础理论以及实际应用对标准GB/T 7233. 1—2023《铸钢件 超声检测 第1部分:一般用途铸钢件》提出了一些问题和建议,有助于后续标准的进一步完善。 另外,国家标准向国际标准靠拢的技术路线是正确的,但国家标准换版工作存在滞后现象,加快标准换版工作或适时发布标准修改单可让国家标准紧跟国际标准的最新变化,保持标准的先进性。 作者:张志刚,陈盛弦(广东名远工程检测有限公司) 杨振宇 [通会检测技术服务(南京)有限公司] 第一作者简介:张志刚,高级工程师,专业方向为无损检测和质量管理。 来源:《无损检测》2024年7期






